はじめに
以下は,三級海技士(機関)の筆記試験 「機関1」の補助ボイラ(2)に関するの過去問題です。
※ 出題は,平成22年10月から令和7年7月定期試験までの問題を調べたものです。(類)は,類似の問題を示します。解答は一緒です。平成=H,令和=Rに年/月を数字で示しております。
ボイラ及びこれらの付属装置の各構成部の形状,材質及び作動
〔問題1〕
排ガスエコノマイザの加熱管に付着したすすを除去する装置には,蒸気噴射式以外にどのようなものがあるか。3つあげ,その概要を述べよ。
【出題:H22/10,H25/04,H28/10,H29/10】
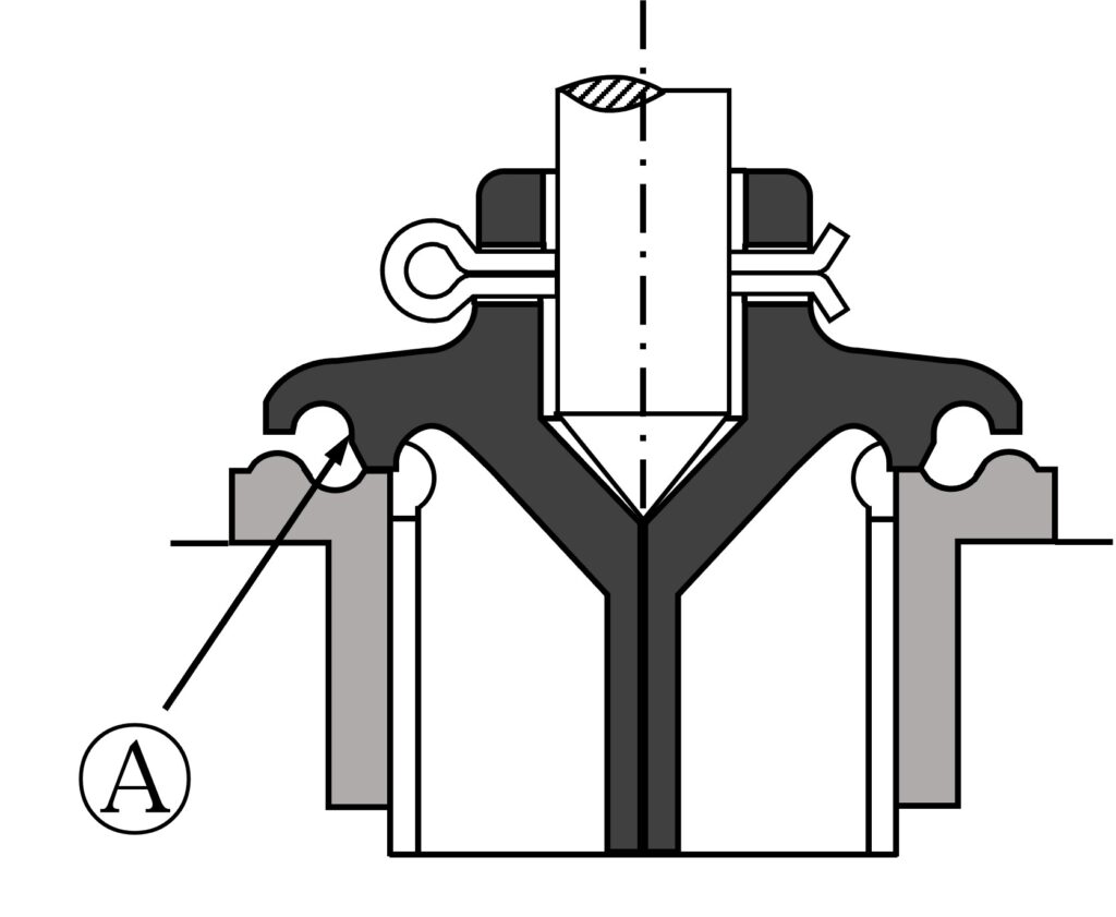
〔問題2〕
図は,補助ボイラの低揚程安全弁を示す。図に関する次の問いに答えよ。
(1) Ⓐのリップは,どのような目的で設けられているか。
(2) 弁棒の先端を円すい状にしている理由は,何か。
(3) 安全弁を開放した場合,弁体と弁座については,どのような箇所を検査するか。
【出題:H25/02】

〔問題3〕
補助ボイラの安全弁に関する次の問いに答えよ。
(1) 安全弁の取付け位置は,どのようなところにするか。
(2) ドレン抜き装置は,どのような役目をしているか。
(3) 揚弁装置は,どのような場合に使用するか。
【出題:H23/07,H26/04】
〔問題4〕
補助ボイラの安全弁に関する次の問いに答えよ。
(1) 安全弁の揚弁装置とは,どのようなものか。
(2) 安全弁が噴気して,吹止まり圧までボイラ圧が降下しても吹出しが止まらない場合の原因は,何か。(2つあげよ。)
(3) 安全弁が噴気した場合,どのような応急処置を行うか。
【出題:H27/07,H30/07,R05/02】
ボイラ水の性能(蒸発率及びボイラ効率)
〔問題〕
補助ボイラにおいて,次の(1)~(3)は,ボイラにどのような害を及ぼすか。それぞれ記せ。
(1) 内部伝熱面に付着したスケール
(2) ボイラ水中の浮遊物
(3) ボイラ水中のスラッジ
【出題:H26/02,H29/04,H31/04,R02/07,R03/04】
ボイラにおける燃料の燃焼
〔問題〕
補助ボイラに関する次の問いに答えよ。
(1) 振動燃焼(脈動燃焼)とは,どのような現象か。
【出題:H24/07,H27/02,R01/07,R02/10,R03/07,R04/04,R06/07 ,R07/07】
(2) 振動燃焼が発生する原因は,何か。
【出題:H24/07,H27/02,H28/04類,R01/07,R02/10,R03/07,R04/04,R06/07 ,R07/07】
運転及び保守
〔問題1〕
補助ボイラを開放復旧後,点火して気醸する場合に関して,次の問いに答えよ。
(1) ボイラを復旧し点火準備の終了後,最初に点火する場合の注意事項は,何か。
(2) 最初の点火から使用蒸気圧に達するまでの時間を十分にとるのは,なぜか。
(3) ボイラの蒸気圧が0.2~0.3MPaに達した場合,どのような作業を行うか。
【出題:H23/07,H25/07,H29/07,H30/10,R06/02 ,R07/04】
〔問題2〕
補助ボイラにおいて,気醸中の注意事項をあげよ。
【出題:H23/02,H28/07,R03/02】
〔問題3〕
補助ボイラの自動燃焼制御装置に関する次の問いに答えよ。
(1) この装置を設置すると,どのような利点があるか。
【出題:H23/02,H25/10,H27/10,H29/10,R02/02,R03/04】
(2) この装置は,負荷の変化に応じて,何を自動的に調整するか。
【出題:H23/02,H25/10,H27/10,H29/10,R02/02,R03/04】
(3) 運転中の危険防止のため,フレームアイは,どのような役目をするか。
【出題:H23/02,H27/10,R02/02】
(4) プレパージ及びポストパージとは,それぞれ何をすることか。
【出題:H23/02,H25/10,H29/10,R02/02,R03/04】
〔問題4〕
補助ボイラの自動燃焼制御装置に関する次の問いに答えよ。
(1) 点火は,ボイラの何を検出して行うか。 【出題:H24/10,H26/10,H28/07,R01/10,R05/02,R06/10】
(2) 点火前,どのようなことを行うか。 【出題:H24/10,H26/10,H28/07,R01/10,R05/02,R06/10】
(3) フレームアイが作動不良の場合,どのような害があるか。 【出題:H26/10,H28/07,R01/10】
(4) 運転中,フレームアイは,どのような役目をするか。 【出題:H24/04】
(5) この装置を設置すると,どのような利点があるか。 【出題:R05/02,R06/10】
〔問題5〕
補助ボイラに関する次の問いに答えよ。
(1) 内部掃除の場合,スケールを取り除くには,どのような方法があるか。(2つあげ,それぞれ概要を記せ。)
(2) 内部掃除の終了後,マンホールドアを取り付ける前には,ボイラ内部についてどのような事項に注意しなければならないか。
【出題:H25/02,H27/04,H30/07,R02/02,R04/02,R05/10】
