はじめに
以下は,三級海技士(機関)の筆記試験 「機関1」のディーゼル機関(1)〔ディーゼル機関及びこれらの付属装置の全体の構成及び作動〕に関するの過去問題です。
※ 出題は,平成22年10月から令和7年7月定期試験までの問題を調べたものです。(類)は,類似の問題を示します。解答は一緒です。平成=H,令和=Rに年/月を数字で示しております。
クロスヘッド形ディーゼル機関
〔問題〕
二サイクルクロスヘッド形ディーゼル機関に関する次の文の[ ]の中に適合する字句を記せ。
(1) クロスヘッドに滑り金を設け,滑り金は[ ㋐ ]に取り付けられたガイドに沿って往復運動を行い,連接棒の傾斜による[ ㋑ ]を受けるようにしてある。
(2) [ ㋒ ] 掃気の機関では,ピストンはピストンリングを取り付けるだけの長さがあればよく,長いピストン[ ㋓ ]は必要としない。
(3) シリンダと[ ㋔ ]が隔離され,ピストン棒が㋔上部を貫通する部分には〔 ㋕ ]を設けている。
【出題:H22/10,H24/04,H27/04,H30/02,R02/04 ,R07/04 】
タイロッド
〔問題1〕
ディーゼル機関のタイロッドに関する次の問いに答えよ。
(1) タイロッドを用いると,どのような利点があるか。また,どのような欠点があるか。
(2) タイロッドのねじは,緩みを防ぎ,強さをもたせるためどのようなねじとするか。
(3) 長いタイロッドの場合,曲げ応力を防止するためどのようにするか。
(3)’長いタイロッドの場合,曲げ応力を防止するためには,高強度材を使用するほか,どのような方法があるか。
【出題:H24/04,H26/10,H29/10,H31/02,R04/07(3)’,R06/07(3)’ ,R07/07(3)’】
〔問題2〕
四サイクルディーゼル機関のシリンダライナ及びタイロッドに関する次の問いに答えよ。
(1) タイロッドを締め付ける場合,片締めするとどのような害があるか。
【出題:R05/07】
ピストン冷却
〔問題〕
ディーゼル機関のピストン冷却に関する次の問いに答えよ。
(1) 冷却液に潤滑油を使用する場合は,清水を使用する場合に比べて,どのような利点と欠点があるか。
(2) トランクピストン機関のピストンを油冷却する場合,どのような方法があるか。(2つあげよ。)
(3) クロスヘッド機関のピストン(運動部)と冷却管(固定部)の接続には,どのような方法があるか。(2つあげよ。)
【出題:H23/07,H26/02,H28/07,H31/04,R02/10,R05/07 ,R07/07】
シリンダライナ
〔問題1〕
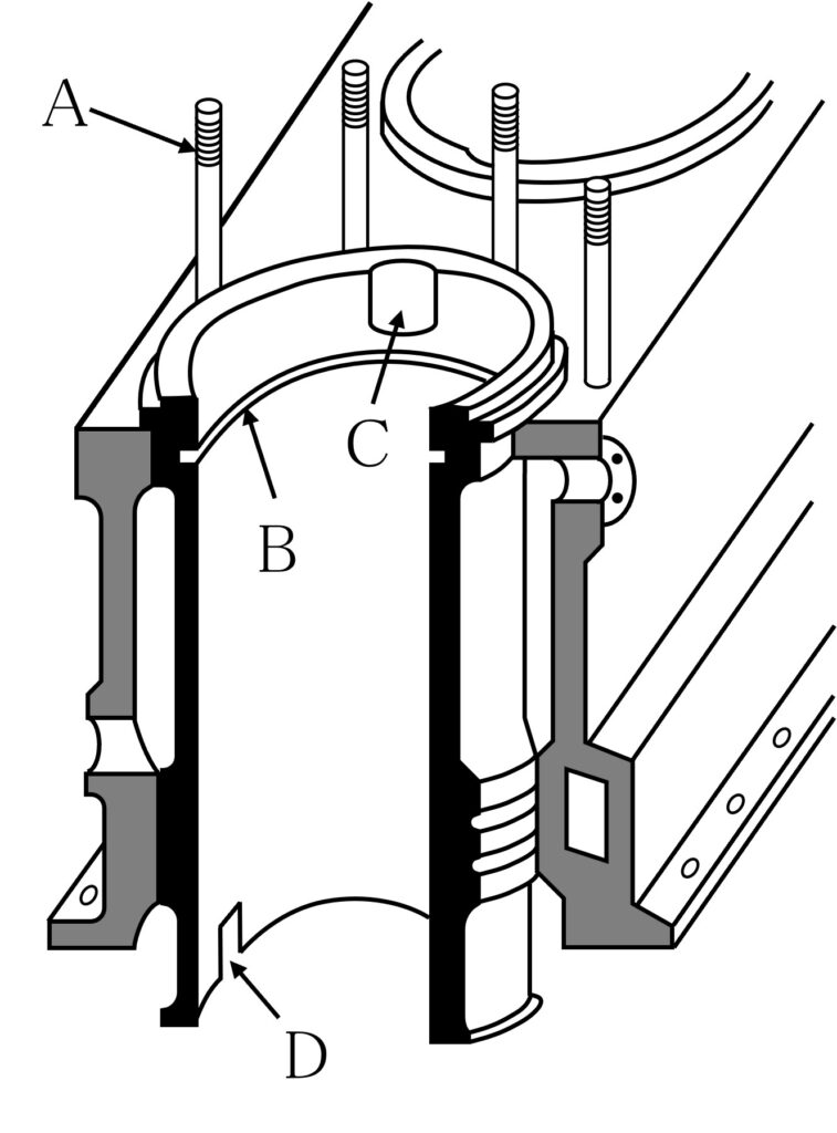
図は,四サイクルディーゼル機関のシリンダを示す。図とシリンダライナに関する次の問いに答えよ。
(1) Aの役目は,何か。
(2) Bの溝は何のために設けるか。
(3) Cのくぼみを設ける場合があるのは,なぜか。
(4) Dの切欠きを設ける場合があるのは,なぜか。
(5) 機関の発停回数が多い場合,ライナの摩耗が増すのは,なぜか。
【出題:H24/02,H25/10,H28/04,H30/04,R04/04】

〔問題2〕
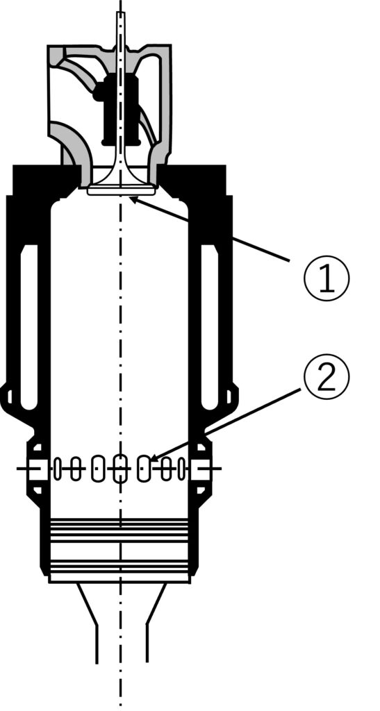
図は,二サイクルディーゼル機関のシリンダライナ付近の断面を示す。図に関する次の問いに答えよ。
(1) ①の弁及び②の穴の名称は,それぞれ何か。
(2) ②の穴の開閉は,どのようにして行うか。
(3) 新気は,シリンダ内部をどのような方向に,どのようにして流れるか。(それぞれ記せ。)
(4) 上記(3)のように新気を通す方法は,何と呼ばれるか。
【出題:R05/02,R07/02】

