はじめに
以下は,三級海技士(機関)の筆記試験 「機関1」のディーゼル機関(3)〔ディーゼル機関及びこれらの付属装置の各構成部の形状,材質及び作動〕に関するの過去問題です。
※ 出題は,平成22年10月から令和7年7月定期試験までの問題を調べたものです。(類)は,類似の問題を示します。解答は一緒です。平成=H,令和=Rに年/月を数字で示しております。
始動弁
〔問題1〕
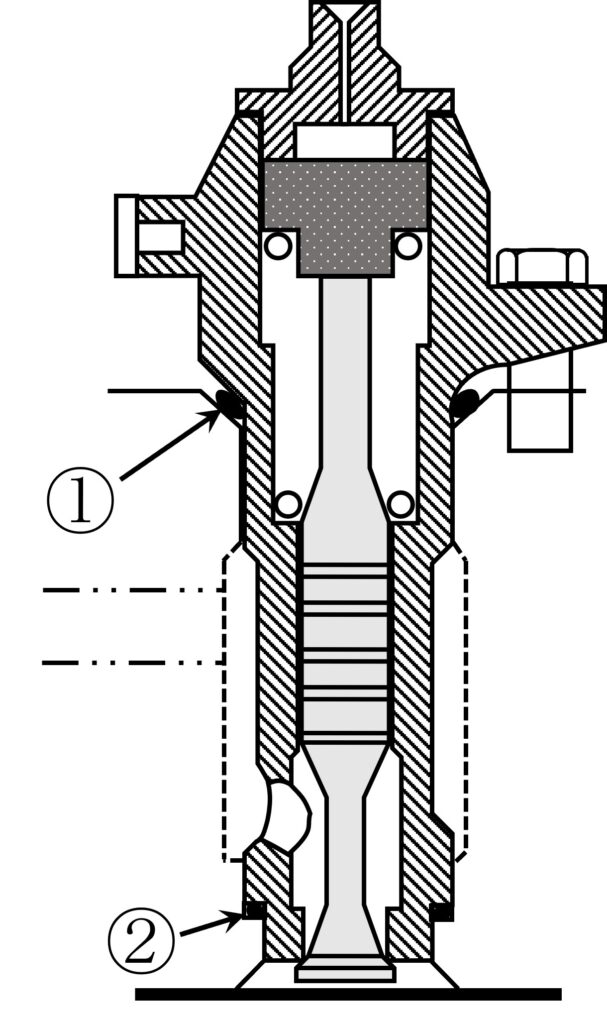
図は,大型二サイクルディーゼル機関の始動弁及び始動空気管制弁を示す。図に関する次の問いに答えよ。
(1) 機関の始動時において,図の2つの弁は,どのように作動するか。(図の記号を用いて弁の開閉を説明せよ。)
(2) 始動して燃料運転となった場合,㋗部の始動空気は,どのようになるか。
(3) 始動弁へ始動空気を導く始動空気管内に発生する爆発の原因は,何か。また,この事故防止のためどのような注意が必要か。
【出題:H23/07,H27/10(記号が異なる),R01/10】

〔問題2〕
図は,ディーゼル機関における回転弁式始動装置を示す。図に関する次の問いに答えよ。
(1) Ⓐ及びⒷは,それぞれ何か。
(2) ⒶとⒷは,どのように接続されているか。
(3) 始動弁へ空気を送り込む管は,Ⓒ又はⒹのどちらか。

〔問題3〕
四サイクルディーゼル機関の空気管制弁式始動弁に関する次の問いに答えよ。
(1) 図は,空気管制弁式始動弁を示す。図の①及び②のガスケットが不良の場合,それぞれ何が漏出又は漏入するか。(始動時及び運転時に分けて記せ。)
(2) 始動時,始動弁の開閉は,どのようにして行われるか。
(3) 始動弁が開弁状態で固着すると,どのような害を生じるか。
【出題:H29/07,R02/07,R05/02 ,R07/04】

ファイヤリング
〔問題1〕
四サイクルディーゼル機関におけるアンチポリッシングリング(ファイヤリング)に関する次の文の[ ]の中に適合する字句を記せ。
(1) アンチポリッシングリングは,シリンダライナの[ ㋐ ]部に挿入され,ライナ内径より若干小さい内径を有する[ ㋑ ]製のリングである。
(2) このリングにより,ピストン[ ㋒ ]に付着する[ ㋓ ]は,リングの内径以上に成長しないため,ライナ壁との接触を避けることができる。
(3) 上記(2)の結果,ライナのポリッシング(摩耗によってライナ表面の[ ㋔ ]加工溝が消失し,[ ㋕ ]のようになる現象)を防止することができる。
【出題:H25/07,R06/07】
〔問題2〕
ディーゼル機関におけるアンチポリッシングリング(ファイヤリング)に関する次の文の[ ]の中に適合する字句を記せ。
(1) このリングは,シリンダライナの[ ㋐ ]部に挿入され,ライナ内径より若干小さい内径を有する[ ㋑ ]製のリングである。
(2) このリングにより,ピストン[ ㋒ ]に付着する[ ㋓ ]は,リングの内径以上に成長しないため,ライナ壁との接触を避けることができる。
(3) 上記(2)の結果,ライナの摩耗によってライナ表面の[ ㋔ ]加工溝が消失し,[ ㋕ ]のようになる現象)を防止することができる。
【出題:H27/10,R01/07,R03/04】
