はじめに
以下は,三級海技士(機関)の筆記試験 「機関3」の計算問題(2)に関する過去問題です。
※ 出題は,平成22年10月から令和7年7月定期試験までの問題を調べたものです。(類)は,類似の問題を示します。解答は一緒です。平成=H,令和=Rに年/月を数字で示しております。
ボイル・シャルルの法則
〔問題1〕
ディーゼル機関の空気冷却器入口の空気温度が123℃,出口温度が48℃とするとき,空気冷却器出口と入口の空気の密度比を求めよ。ただし,空気冷却器の前後における圧力の損失は,無視できるものとする。
【出題:H28/10】
上記のような問題様式で、以下の値で問題が出題されています。
〔H31/04〕入口の空気温度が123℃,出口温度が52℃
〔R07/02類〕入口の空気温度が125℃,出口温度が42℃
〔問題2〕
理想気体の性質に関する次の問いに答えよ。
(1) 絶対圧が2MPa{20kgf/sm2}のとき,体積が3m3である気体を5m3にまで等温膨張させるとすれば,膨張後の圧力は,絶対圧でいくらになるか。
(2) 絶対圧が1.5MPa{15kgf/cm2},温度が170℃の気体を体積が一定のまま300℃にまで加熱した場合,その圧力は,絶対圧でいくらになるか。
注:計算は,SI(国際単位系)又は重力単位系いずれで行ってもよい。
【出題:H27/10】
上記のような問題様式で、以下の値で問題が出題されています。
〔R04/10〕(1)絶対圧3MPa,体積4m3,8m3まで,(2) 絶対圧1.5MPa,温度135℃,300℃まで
〔問題3〕
空気タンクの圧力計の示度が2.8MPa{28kgf/cm2}で,そのときのタンク内の空気の温度は38℃であった。その温度が23℃に下がると圧力計の示度は,いくらになるか。ただし,大気圧は標準状態とする。
【出題:R05/10】
歯車の設計
〔問題〕
2つの歯車において,モジュールが6で,歯車41と82の標準平歯車をかみ合わせるときの中心距離は,いくらか。
【出題:H28/04】
上記のような問題様式で、以下の値で問題が出題されています。
〔R04/07〕モジュール6,歯車45と81
ディーゼル機関の燃料噴射ポンプ
〔問題〕
四サイクルディーゼル機関のボッシュ式燃料噴射ポンプにおいて,プランジャの直径が20mm,行程が23mmで,機関の回転速度が毎分1200のとき,このポンプ1台が送り出す燃料油量は,1時間当たり何キロリットルとなるか。ただし,機関の負荷は一定とし,プランジャからの燃料油の逃がし量は20%とする。
【出題:H28/02】
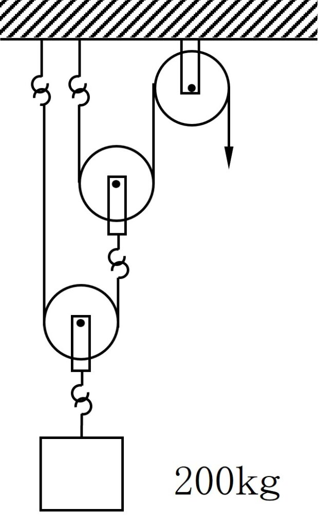
滑車・チェーンブロック
〔問題1〕
滑車を図のように組み合わせて200㎏の物体を静かに垂直にあげるには,いくらの力でロープを引っ張ればよいか。また,ロープを1.5m引っ張るとき,物体はどれだけ上昇するか。ただし,滑車とロープの質量及び摩擦は無視するものとする。 【出題:H26/07】

上記のような問題様式で、以下の値で問題が出題されています。
〔R02/04〕300kgの物体,2m引っ張る
〔問題2〕
定鎖車の直径が30㎝及び20㎝の図のようなチェーンブロックで500kgの荷物を引きあげるには,いくらの力を要するか。
注:計算は,SI(国際単位系)又は重力単位系いずれで行ってもよい。
【出題:H22/10】

圧力容器の蓋
〔問題〕
内圧3.4 MPa{34kgf/cm2}の円筒形圧力容器のふたを12本のボルトで締め付けるとき,1本のボルトの直径(最小径部)は,いくらにすればよいか。ただし,ふたの内径を23㎝,ボルト材の許容引張応力を60 MPa{600kgf/cm2}とする。
注:計算は,SI(国際単位系)又は重力単位系いずれで行ってもよい。
【出題:H24/04】
ピラーに生じる応力
〔問題〕
機関室内にあるピラー(支柱)は外径350㎜で肉厚が10㎜である。今,このピラーが支えている荷重が50kN{5tf}とすると,ピラーに生じる応力はいくらになるか。ただし,座屈は起こらないものとする。
注:計算は,SI(国際単位系)又は重力単位系いずれで行ってもよい。
【出題:H26/10】
上記のような問題様式で、以下の値で問題が出題されています。
〔R06/02〕外径360㎜,肉厚10㎜,荷重50kN{5tf}
平鋼板の伝熱
〔問題1〕
厚さが8㎜,熱伝導率52W/(m・K){45kcal/(h・m・℃)}の平鋼板の両面温度差が40℃とすれば,毎時毎平方メートルについて,どれだけの熱が伝熱されるか。
注:計算は,SI(国際単位系)又は重力単位系いずれで行ってもよい。
【出題:H23/10】
上記のような問題様式で、以下の値で問題が出題されています。
〔H22/07〕厚さ8㎜,熱伝導率52W/(m・K){45kcal/(h・m・℃)},両面温度差40℃
〔問題2〕
厚さが13mm,熱伝導率58W/(m・K){50kcal/(h・m・℃)}の平鋼板において,面積1m2当たり1時間の伝熱量が105000kJ{25000kcal}のとき,この平鋼板の両面の温度差は,いくらか。
注:計算は,SI(国際単位系)又は重力単位系いずれで行ってもよい。
【出題:H28/07】
上記のような問題様式で、以下の値で問題が出題されています。
〔H29/10〕厚さが12mm,熱伝導率58W/(m・K){50kcal/(h・m・℃)},伝熱量が105000kJ{25000kcal}
〔R05/02〕厚さが14mm,熱伝導率58W/(m・K){50kcal/(h・m・℃)},伝熱量が105000kJ{25000kcal}
