はじめに
以下は,三級海技士(機関)の筆記試験 「機関2」の補機(6)工作機械・工具・計測装置に関するの過去問題です。
※ 出題は,平成22年10月から令和7年7月定期試験までの問題を調べたものです。(類)は,類似の問題を示します。解答は一緒です。平成=H,令和=Rに年/月を数字で示しております。
工作機械・工具
〔問題1〕
船内工作で使用する次の(1)~(3)の工作機械は,どのようなものか。それぞれ概要を記せ。
(1) グラインダ (2) フライス盤 (3) ボール盤
【出題:H24/07】
〔問題2〕
下記㋐~㋓の機器部品及び工具の略図に関する次の問いに答えよ。

(1) ㋐~㋓の名称は,それぞれ何か。
(2) ㋐及び㋑は,それぞれどのような箇所に用いられるか。
(3) ㋒及び㋓は,それぞれどのように用いられるか。
【出題:H24/02,H28/02,H30/07,R03/04,R04/07】
〔問題3〕
下記㋐~㋓の機器部品及び工具の略図に関する次の問いに答えよ。

(1) ㋐~㋓の名称は,それぞれ何か。
(2) ㋐及び㋑は,それぞれどのような箇所に用いられるか。
(3) ㋒及び㋓は,それぞれどのように用いられるか。
【出題:R07/04】
〔問題4〕
次の(1)~(7)の工具及び計測器具は,どのような場合に使用されるか。それぞれ記せ。
(1) ギヤプーラ 【出題:H23/07,H26/10,R01/10,R05/04】
(2) ブリッジゲージ 【出題:H25/07,H27/02,R04/02,R06/07】
(3) インサイドマイクロメータ 【出題:H25/07,H26/10,R01/10,R05/04】
(4) トースカン 【出題:H23/07,H25/07,H26/10,R01/10,R05/04】
(5) トルクレンチ 【出題:H23/07,H26/10,R01/10,R05/04】
(6) チューブエキスパンダ 【出題:H23/07,H27/02】
(7) アイボルト 【出題:H27/02,R04/02,R06/07】
(8) パッキンスクリュー 【出題:R04/02,R06/07】
(9) デプスゲージ 【出題:R04/02,R06/07】
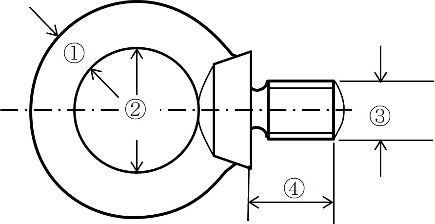
〔問題5〕
図は,作業工具のアイボルトの略図である。次の問いに答えよ。
(1) アイボルトは,どのような作業に使用するか。(具体的な作業名をあげよ。)また,使用にあたって,注意しなければならない点は,何か。
(2) アイボルトの強度は,ふつう,図の①~④の中の,どの部分で決めるか。
【出題:H22/10,H23/10,H26/02,H29/02,H31/02,R03/02,R04/04】

計測装置
〔問題1〕
ガラス製棒状温度計に関する次の問いに答えよ。
(1) 使用する前に温度計については,外観上どのような事項について検査しておく必要があるか。(3つあげよ。)
(2) 温度を測定するうえで,温度計自体の誤差のほかに,測定温度に誤差を生じる原因としては,どのような事項があるか。(3つあげよ。)
【出題:25/10,27/10,H30/07,R02/04,R05/02,R07/02】
〔問題2〕
図は変位センサの一種である巻線回転形ポテンションメータの略図である。次の文の中の[ ]にあてはまる語句,数値を記せ。
(1) 図中のシャフトが回ることで[ ア ]が抵抗線の巻かれた胴内を接触しながら,AからBまで動き全抵抗を自由に分割する。入力電源E1を12ボルトとすれば[ア]がAの位置では,図中の出力E0は[ イ ]ボルトとなり[ア]がBの位置では,出力E0は[ ウ ]ボルトとなる。
(2) 図中の入力電源E1の値が大きいと隣接した巻線の間が[ エ ]破壊を起こし抵抗線が断線する。
【出題:26/02】

〔問題3〕
ブルドン管圧力計に関する次の問いに答えよ。
(1) ブルドン管圧力計の示度に誤差を生じる原因は,何か。
【出題:H23/02,H26/07,H30/02,R02/02,R03/10,R05/10 ,R07/07】
(2) 指針の振れが大きい場合,どのようにして振れを小さくするか。
【出題:H23/02,H26/07,R05/10 ,R07/07】
(3) 圧力検出部には,ブルドン管のほかにどのようなものがあるか。
【出題:H23/02,H26/07,H30/02,R02/02,R03/10,R05/10 ,R07/07】
(4) ブルドン管圧力計の内部の構造は,どのようになっているか。略図を描いて主要部の名称を記せ。
【出題:R02/02,R03/10,R06/10】
